折痕有望消滅,但折疊屏手機又添新課題?
飛象原創(源初/文)近期,關于折疊屏手機的消息一波接一波,先是三星的三折疊機型現身,后是流出關于蘋果闊折疊機型的消息,不過關于折疊屏手機的技術難題,似乎還是存在。
折痕有望消滅?
多個爆料消息源顯示,蘋果將會在明年9月發布首款可折疊iPhone,與iPhone 18 Pro系列同臺登場。該機型的內屏比例上可能采用闊折疊的方式,尺寸為7.8英寸,分辨率2713×1920,4:3比例,像素密度428PPI,采用UPC屏下前攝方案,實現無開孔效果。外屏為5.5英寸,分辨率2088×1422,像素密度460PPI,采用HIAA打孔攝像頭設計,開孔超小,比例接近寸接近常規iPhone。
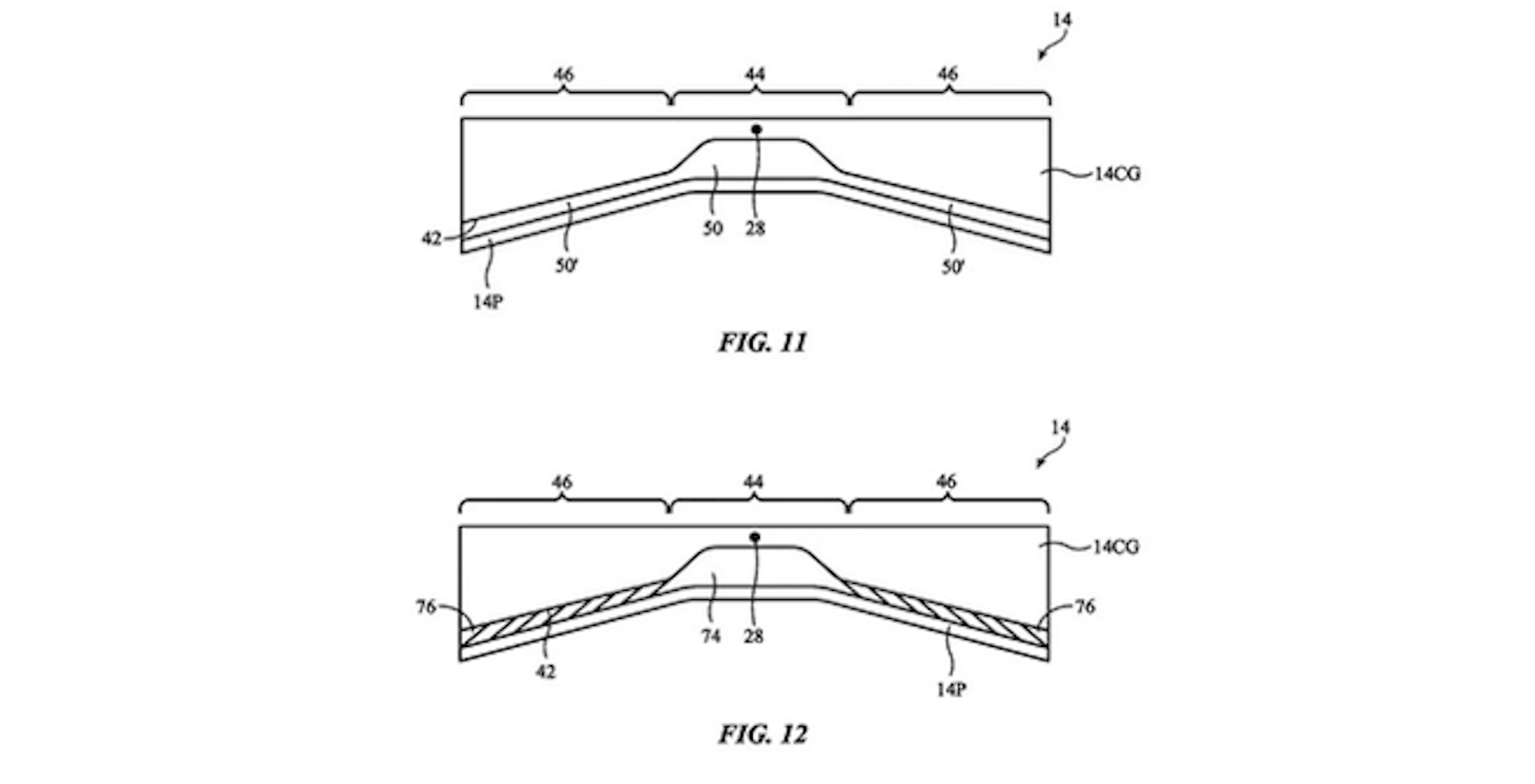
更值得關注的消息是,蘋果在該機型中有望讓折疊屏手機的老大難問題:“折痕”徹底消失。蘋果通過新打造的鉸鏈,內置金屬應力分散板實現“近乎無折痕”的內屏效果,同時支持自修復涂層技術,提升抗刮性。
不過為了節省機身內部空間,蘋果將會在該部iPhone上重新配置Touch ID,取消目前已經全面使用的Face ID,以便節省內部空間。另外,還將采用純eSIM方案,不支持實體SIM卡槽。
根據資料,蘋果曾在2024年7月16日獲得一項專利。這項名為“電子設備與耐用折疊顯示屏”的專利最初于2021年11月提交。專利文件描述了一種保護屏幕的鉸鏈設計:當設備跌落時,顯示屏會”圍繞彎曲軸輕微折疊“讓設備邊緣先著地,從而保護脆性的內屏。這證實了蘋果在折疊屏技術上的長期研發。
與此同時,有消息稱,蘋果還正在開發一款折疊屏iPad。該設備據稱將配備約8英寸的顯示屏,由于不需要像手機那樣放入口袋,其對耐用性和厚度的要求可能相對寬松一些。
手寫筆又暫時不能用了?
眼看折痕問題有望在明年消失,但折疊屏手機在今年又遭遇新問題。隨著三星Galaxy Z Fold7在今年年中的發布,盡管帶來了號稱史上最輕薄的設計,但三星也在其中做了一個巨大妥協,那就是取消對S Pen手寫筆的支持,并移除了內屏的數位板層,以進一步降低手機的厚度和重量。
當時,三星方面在接受外媒采訪時,曾對此問題表示,公司仍在探索能夠在不犧牲手機輕薄性的情況下支持S Pen的技術。Fold7強調滿足消費者對于輕薄產品的需求。S Pen的移除是一種取舍。三星也在為S Pen研發更輕薄且創新的技術,所以當完善程度提高且消費者有需求時,會重新考慮回歸這一功能。
同樣是在本月,三星亮相的三折疊機型Galaxy Z TriFold同樣無緣S Pen,并且任何現有的S Pen也無法在這款手機內屏或外屏上使用。這就意味著,盡管該機型擁有一塊尺寸達到10英寸的AMPLED內屏,比一些平板電腦還要大,但卻不能通過S Pen來實現繪畫或記筆記的功能。盡管可以找到可以使用的第三方觸控筆,但并不能夠保證在屏幕中的精準觸控。另外,如果鼻尖過于尖銳,也有可能會傷及內部屏幕。
空間與耐用性問題
折疊屏手機面臨的問題還是老問題,那就是空間與耐用性,無論是Face ID的缺失,還是S Pen功能的砍去。本就精密的機身內部,在一分為二的情況下,就更顯緊張,以往廠商在性能的釋放、電池容量安排上本就已經形成趨勢,如今在輕薄化的市場需求下,一些傳統功能也需要在產品設計之初做出選擇題。
而該品類也正在成為手機廠商的銷量支撐力量,根據市場研究機構IDC發布的最新預測,得益于蘋果明年即將推出的折疊屏iPhone,明年全球折疊屏手機市場將會增長30%,市場將會形成蘋果、三星、華為三足鼎立的局面,預計明年折疊屏手機的增長將達到峰值,直到2029年都保持增長率領先于直屏手機的勢頭。甚至IDC客戶設備副總裁Francisco Jeronimo預測:“蘋果首款可折疊iPhone的推出之日,就是折疊屏手機市場的轉折點。”
但值得注意的是,該預測數值的呈現選擇為“增長率”。而在出貨量方面,此前調研機構Counterpoint曾預測2025年折疊屏市場的出貨量將出現下滑。原因在于市場增速的放緩,與三星在部分市場的表現未達預期,以及OPPO等廠商對旗下翻蓋式折疊屏手機的生產節奏進行策略性調整等因素,有著直接關聯。
這個曾經令人驚嘆,近年又已陷入審美疲勞的品類,能否在明年因蘋果煥發第二春,不妨拭目以待。
1.本網刊載內容,凡注明來源為“飛象網”和“飛象原創”皆屬飛象網版權所有,未經允許禁止轉載、摘編及鏡像,違者必究。對于經過授權可以轉載,請必須保持轉載文章、圖像、音視頻的完整性,并完整標注作者信息和飛象網來源。
2.凡注明“來源:XXXX”的作品,均轉載自其它媒體,在于傳播更多行業信息,并不代表本網贊同其觀點和對其真實性負責。
3.如因作品內容、版權和其它問題,請在相關作品刊發之日起30日內與本網聯系,我們將第一時間予以處理。
本站聯系電話為86-010-87765777,郵件后綴為cctime.com,冒充本站員工以任何其他聯系方式,進行的“內容核實”、“商務聯系”等行為,均不能代表本站。本站擁有對此聲明的最終解釋權。
折痕有望消滅,但折疊屏手機又添新課題?
近期,關于折疊屏手機的消息一波接一波,先是三星的三折疊機型現身,后是流出關于蘋果闊折疊機型的消息,不過關于折疊屏手機的技術難題,似乎還是存在。[詳細]
從規模破局到質效突圍:5G工廠邁入量質齊升新賽道
2025年作為“十四五”時期5G工廠“百千萬”行動收官之年,我國5G工廠建設已從起步探索邁入規模應用新階段,1260個5G工廠納入官方名錄,累計帶動投資591.3億元,覆蓋41個工業大類、近90個行業..[詳細]
信息光子技術產業正加速發展,并進入重要戰略機遇期
當前,信息光子技術產業正加速發展,并進入重要戰略機遇期。近日,中國信通院發的《信息光子技術發展與應用研究報告(2025 年)》(以下簡稱《報告》)指出,一方面,需求側與人工智能、先進計..[詳細]
中國信通院正式發布2026深度觀察十大趨勢
12月13日,2026中國信通院深度觀察報告會主報告會在北京舉辦。本次報告會主題為 “面向“十五五”,人工智能浪潮下的新質生產力發展”。工業和信息化部黨組成員、副部長張云明出席報告會并致..[詳細]
1ms城市算網筑基:四川千行百業數智煥新
當前,人工智能引領的新一輪科技革命和產業變革正加速推進,各行各業都在嘗試以大數據、AI模型來升級業務,這對算力基礎設施及其提供服務的靈活性提出了更高的要求。為更好地支持各行各業的..[詳細]













